遠隔操作式シャックル LSC型 3ton(6~25mm): 他:LSC-3(φ16)
'
![]() |
建方作業に最適、便利な遠隔操作式シャックル
|
![]() |
■用途建方・運搬・組立・搭載・引抜き・つり上げ |
■適用部材鉄骨・鋼製梁・鉄鋼構造物・鋼矢板等 |
|
■使用可能温度-30~300° |
クランプの使用方法
![]() |
■取付け
|
![]() |
■取外し
|
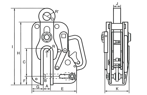
仕様寸法図
![]() |
※付属ワイヤーは、標準10mです |
| 型式 | 最大使用荷重 |
許容使用板厚 | 寸法(mm) | |||
| A | B | C | D | |||
| LSC-3(φ16) | 3ton | 6~25mm | 26.5 | φ16 | 100 | φ30 |
| LSC-5(φ22) | 5ton | 6~28mm | 30 | φ22 | 100 | φ45 |
| 型式 | 寸法(mm) | 製品質量 | ||||||||
| E | F | G | H | I | J | K | R | R’ | ||
| LSC-3(φ16) | 164.5 | 30 | 42 | 225 | 290~320 | 25 | 90 | 13.25 | 30 | 10.4kg |
| LSC-5(φ22) | 182 | 30 | 47 | 225 | 300~330 | 32 | 110 | 15 | 36 | 14.0kg |
|
イーグル・クランプ 0120-119-080
|
| 商品ID | 商品名・品番 | 価格 | 掛率 | 数量 | カートへ |
|---|
※通常在庫品でも、ご注文のタイミングや注文個数によりお届け日が変わる場合があります。
■ アイコン表記について>>
■ アイコン表記について>>
当サイトはプロ用の道具・工具・資材を店舗を通さず、卸値又はそれに順ずる価格でお届けする、
プロのためのサイトです。
プロのためのサイトです。
※お買い上げ合計金額が税別2万円以上であれば何個口でも送料無料!(但し一部商品、沖縄県、一部地域を除く)
お電話でのご注文は...
フリーダイヤル:0120-921-841、携帯電話から:0172-43-1551(受付:平日9:00~17:30 日祝は休み)
































































