デジタルノギス 管測定 150mm 防塵防水::19840
パイプなどの厚さ測定に
- デジタルユニット部は防塵・防水性能IP67
- 読み取りやすい文字高13mmの大型液晶表示を採用
- 微調整に便利な微動送り付
- オートパワーオフ機能付
- 最小読取値が0.01mmで精密な作業に適しています
- 比較測定のできるゼロセット機能付
- 測定値の固定ができるホールド機能付
- 保管や持ち運びに便利なケース付

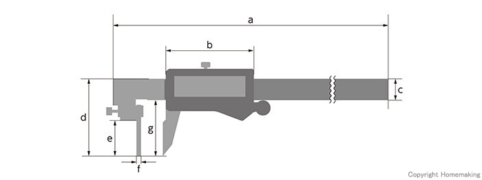
寸法図

| 各部サイズ | a | b | c | d | e | f | g |
| (mm) | 250 | 67 | 16 | 62 | 30 | 4 | 46 |
製品仕様
| 品番 | 19840 |
| 測定範囲 | 0.01~150mm |
| 最小読取値 | 0.01mm |
| 最大許容誤差 | ±0.03mm ※量子化誤差(±1カウント)を含みます |
| 使用温度 | 0~40℃ |
| オートパワーオフ | 無操作状態で約5分後 |
| 防塵・防水 | IP67 ※防塵性能:粉塵が侵入しません。 ※防水性能:水面まで1mの高さで30分間水中に沈めても水が侵入しません。 |
| 電源 | リチウム電池 CR2032 1個 ※付属の電池はモニター用のため、寿命が短い場合があります |
| 材質 | 本体:ステンレス デジタルユニット部:ABS樹脂 |
| 本体サイズ | 255×76×20mm |
| 製品質量 | 210g |
| 付属品 | 収納ケース |
|
シンワ測定株式会社 0120-666899
受付時間 8:30~17:00 (土・日・祝祭日を除く) |
| 商品ID | 商品名・品番 | 価格 | 掛率 | 数量 | カートへ |
|---|
※通常在庫品でも、ご注文のタイミングや注文個数によりお届け日が変わる場合があります。
■ アイコン表記について>>
■ アイコン表記について>>
当サイトはプロ用の道具・工具・資材を店舗を通さず、卸値又はそれに順ずる価格でお届けする、
プロのためのサイトです。
プロのためのサイトです。
※お買い上げ合計金額が税別2万円以上であれば何個口でも送料無料!(但し一部商品、沖縄県、一部地域を除く)
お電話でのご注文は...
フリーダイヤル:0120-921-841、携帯電話から:0172-43-1551(受付:平日9:00~17:30 日祝は休み)


























































